Mastercam 2026

Tehokkuutta ja tekoälyä CAM-ohjelmointiin. LUE LISÄÄ

Walter Tools kierrätyspalvelu

Kovametallin kierrättäminen tuo hyötyjä monella tasolla. LUE LISÄÄ

Walter GPS

Digitaalinen työkalunavigaattori konepajoille. LUE LISÄÄ

Walter Tools tuoteinnovaatiot 2025-2

Uusia ratkaisuja tehokkaaseen ja luotettavaan koneistukseen. LUE LISÄÄ

Camcut Group

Rohkea askel kohti kansainvälisyyttä. LUE LISÄÄ

Walter Tools TC388-G1/4-C0-WJ30TU
Täyskovametalli-kierretappi

NEW 2022
EAN-koodi: 4063464264155
P-Tr-Blind-Holes-Icon P-Tr-Through-Holes-Icon Tr-Profil-G-BSP-DIN-Icon
Tr-50-63HRC-Icon Tr-2xDN-Icon Tr-Anschnitt-C-2-3-Icon
Keernareiän poraus ylempään toleranssirajaan Kierreporanterä karkaistuille materiaaleille
P
M
K
N
S
H
O
ALV 0% 575,00 €
Tarkistetaan saatavuutta
Ostoa varten sinun täytyy kirjautua verkkokauppaan. Tilaa käyttäjätunnukset täältä.
Kysy tuotteesta
Kysy tuotteesta
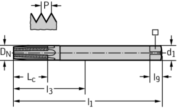
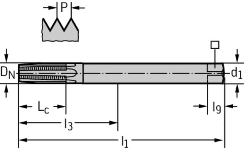
Tekniset tiedot
Kuvaus Symboli Arvo
Kiinnityshalkaisija
d1
14
Toimintapituus
l1
100 mm
käyttöalan pituus
l9
14 mm
Lastu-urien määrä
N
6
käyttökelpoinen pituus
l3
56 mm
Työkalun nimike
Nimike
TC388-G1/4-C0-WJ30TU
Kierteen koko
DN
13,157
Kierteen koko
DN-P
G 1/4-19
Terän pituus
Lc
32,5 mm
Kierteen nousua / tuuma
Kierteen nousua tuumalla
19
Kiinnitysleveys
11 mm
Yhteensopivat tuotteet
Adapterit
Teräpalat
W A A331 P 01
A331.0
Kierretapin pikavaihtopidin
Näytä koot
W-A-C340-P-01
C340-ER40
ER-holkki kierteitykseen, DIN 6499
Näytä koot
W A C340 P 01
C340-ER32
ER-holkki kierteitykseen, DIN 6499
Näytä koot
W-A-C340-P-01
C340-ER25
ER-holkki kierteitykseen, DIN 6499
Näytä koot
W A 391 14 CAPTO P 01
391.14-CAPTO
ER-holkki-istukka, ISO 26623-1 (Capto)
Näytä koot
W A AK300T P 01
AK300.T
ER-holkki-istukka, ScrewFit
Näytä koot
P TR PROTOFLEXC S9018351 P 01
AB035-W
Kierteitysistukka – synkronoitu, DIN 1835 B (Weldon) AD
Näytä koot
W A AB035 S40 ER20 120 P 01
AB035-S
Kierteitysistukka – synkronoitu, DIN 69871 (SK) AD
Näytä koot
W A AB035 J40 ER20 110 P 01
AB035-J
Kierteitysistukka – synkronoitu, JIS B 6339 (MAS-BT) AD
Näytä koot
W A AB035 H63 ER20 108 P 01
AB035-H
Kierteitysistukka – synkronoitu, DIN 69893 (HSK-A)
Näytä koot
W A AB035 C6 ER20 105 P 01
AB035-C
Kierteitysistukka – synkronoitu, ISO 26623-1 (Capto)
Näytä koot
Z-SEALING-WH-P-01
Z_SEALING
Tiiviste
Näytä koot