Walter Tools M23513-UNF6
HSS-E machine taps

EAN-code: 4042446232412
P-Tr-Blind-Holes-Icon Tr-Tol-2B Tr-Profil-UNF-Icon
Tr-2-5xDN-Icon-inch TR-350-200HB-Icon-inch Tr-1200-700-Nmm2-Icon Tr-2-5xDN-Icon Tr-Anschnitt-C-2-3-Icon
For long-chipping materials
P
M
K
N
S
H
O
VAT 0% 45,30 €
Checking availability
You need to log in before purchasing. Request credentials here.
Ask about this product
Ask about this product
Technical details
Description Symbol Value
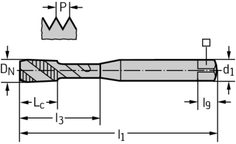
Connection diameter
d1
4
Functional length
l1
56 mm
Driving square length
l9
6 mm
Usable length
l3
20 mm
Number of grooves
N
3
Tool designation
Designation
M23513-UNF6
Thread size
DN
3,505
Thread size
DN-P
UNF #6-40
Thread length
Lc
7 mm
Clamping width
Range
3 mm
Compatible products
Adaptors
W-A-C330-P-01
C330-ER11
DIN 6499 ER collets
Show variations
W A AK300T P 01
AK300.T
ER collet chucks
Show variations
P TR PROTOFLEXC S9018351 P 01
AB035-W
Synchronous thread cutting adaptor
Show variations
W A AB035 J40 ER20 110 P 01
AB035-J
Synchronous thread cutting adaptor
Show variations
W A AB035 C6 ER20 105 P 01
AB035-C
Synchronous thread cutting adaptor
Show variations
W A A305 P 01
A305.0
DIN 1835 B ER collet chuck
Show variations