Walter Tools TC216-M16-L0-WY80AA
HSS-E-läpikierretappi

EAN-code: 4042446263096
P-Tr-Through-Holes-Icon Tr-Tol-ISO2-6H Tr-Profil-M-DIN-Icon
TR-300-100HB-Icon-inch Tr-Anschnitt-B3-5-5-Icon-inch Tr-1000-350-Nmm2-Icon Tr-3xDN-Icon Tr-Anschnitt-B3-5-5-Icon
For long-chipping materials
P
M
K
N
S
H
O
VAT 0% 56,10 €
Checking availability
You need to log in before purchasing. Request credentials here.
Ask about this product
Ask about this product
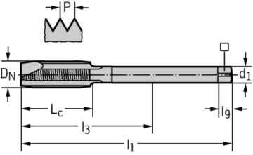
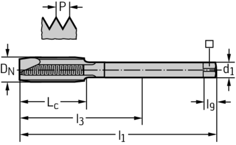
Technical details
Description Symbol Value
Connection diameter
d1
12
Functional length
l1
110 mm
Driving square length
l9
12 mm
Usable length
l3
68 mm
Number of grooves
N
4
Tool designation
Designation
TC216-M16-L0-WY80AA
Thread size
DN
M 16
Thread length
Lc
25 mm
Thread pitch
P
2 mm
Clamping width
Range
9 mm
Compatible products
Adaptors
Products
W A A331 P 01
A331.0
Kierretapin pikavaihtopidin
Show variations
W-A-C340-P-01
C340-ER40
ER-holkki kierteitykseen, DIN 6499
Show variations
W A C340 P 01
C340-ER32
ER-holkki kierteitykseen, DIN 6499
Show variations
W-A-C340-P-01
C340-ER25
ER-holkki kierteitykseen, DIN 6499
Show variations
W A 391 14 CAPTO P 01
391.14-CAPTO
ER-holkki-istukka, ISO 26623-1 (Capto)
Show variations
W A AK300T P 01
AK300.T
ER-holkki-istukka, ScrewFit
Show variations
P TR PROTOFLEXC S9018351 P 01
AB035-W
Kierteitysistukka – synkronoitu, DIN 1835 B (Weldon) AD
Show variations
W A AB035 S40 ER20 120 P 01
AB035-S
Kierteitysistukka – synkronoitu, DIN 69871 (SK) AD
Show variations
W A AB035 J40 ER20 110 P 01
AB035-J
Kierteitysistukka – synkronoitu, JIS B 6339 (MAS-BT) AD
Show variations
W A AB035 H63 ER20 108 P 01
AB035-H
Kierteitysistukka – synkronoitu, DIN 69893 (HSK-A)
Show variations
W A AB035 C6 ER20 105 P 01
AB035-C
Kierteitysistukka – synkronoitu, ISO 26623-1 (Capto)
Show variations
Z-SEALING-WH-P-01
Z_SEALING
Tiiviste
Show variations