Walter Tools TC280-M12-L3-WJ30EL
Solid carbide machine taps

EAN-code: 4063467544032
P-Tr-Through-Holes-Icon Tr-Profil-M-DIN-Icon Tr-Tol-6HX
Tr-1400-850-Nmm2-Icon Tr-2xDN-Icon TR-410-250HB-Icon-inch Tr-Anschnitt-B3-5-5-Icon-inch Tr-Anschnitt-B3-5-5-Icon
Cooling grooves on the shank For long-chipping materials
P
M
K
N
S
H
O
Checking availability
You need to log in before purchasing. Request credentials here.
Ask about this product
Ask about this product
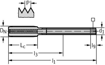
Technical details
Description Symbol Value
Connection diameter
d1
9
Functional length
l1
110 mm
Driving square length
l9
10 mm
Usable length
l3
83 mm
Number of grooves
N
5
Tool designation
Designation
TC280-M12-L3-WJ30EL
Premachined hole diameter
PHD
10,25 mm
Tap chamfer length
TCL
8,4 mm
Thread size
DN
M 12
Thread length
Lc
23 mm
Thread pitch
P
1,75 mm
Clamping width
7 mm