Walter Tools TD117-EGM10-L0-WY80FC
HSS-E machine taps

NEW 2024
EAN-code: 4063466141225
P-Tr-Blind-Holes-Icon Tr-Profil-EgM-DIN-Icon Tr-Tol-6Hmod
Tr-1250-500-Nmm2-Icon Tr-2-5xDN-Icon-inch Tr-2-5xDN-Icon TR-370-150HB-Icon-inch Tr-Anschnitt-C-2-3-Icon
Universal taps
P
M
K
N
S
H
O
VAT 0% 71,80 €
Checking availability
You need to log in before purchasing. Request credentials here.
Ask about this product
Ask about this product
Technical details
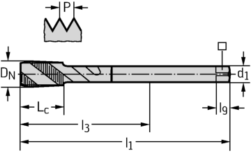
Description Symbol Value
Connection diameter
d1
9
Functional length
l1
100 mm
Driving square length
l9
10 mm
Usable length
l3
73 mm
Number of grooves
N
4
Tool designation
Designation
TD117-EGM10-L0-WY80FC
Thread size
DN
EGM 10
Thread length
Lc
13 mm
Thread pitch
P
1,5 mm
Clamping width
Range
7 mm