Walter Tools TD217-M16-LZ-WY80FC
HSS-E machine taps

EAN-code: 4063466209925
P-Tr-Through-Holes-Icon Tr-Profil-M-DIN-Icon Tr-Tol-6HX
Tr-1250-350-Nmm2-Icon TR-370-100HB-Icon-inch Tr-3xDN-Icon Tr-Anschnitt-B3-5-5-Icon-inch Tr-Anschnitt-B3-5-5-Icon
Universal taps For thin-walled workpieces
P
M
K
N
S
H
O
Checking availability
You need to log in before purchasing. Request credentials here.
Ask about this product
Ask about this product
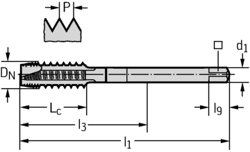
Technical details
Description Symbol Value
Connection diameter
d1
12
Functional length
l1
110 mm
Driving square length
l9
12 mm
Usable length
l3
68 mm
Number of grooves
N
4
Tool designation
Designation
TD217-M16-LZ-WY80FC
Premachined hole diameter
PHD
14 mm
Tap chamfer length
TCL
9 mm
Thread size
DN-P
M 16
Thread length
Lc
25 mm
Thread pitch
P
2 mm
Clamping width
9 mm