Mahr 4304320
Stylus

EAN-code: 4304320-Mahr

Stylus for MarTest 802 EW/NW

VAT 0% 28,00 €
You need to log in before purchasing. Request credentials here.
Ask about this product
Ask about this product
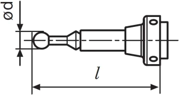
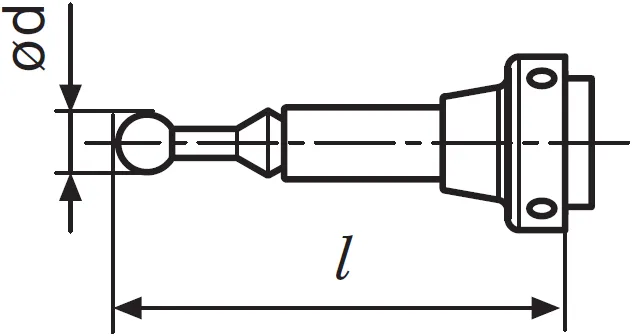
Technical details
Description Symbol Value
Kärjen halkaisija
ØD
4 mm
Length
l
31 mm